Product : ‘SBM’ Bronze Globe Valve No.8
Type of Pattern : Medium Pattern
Body Material cum Standard : GM ( IS:318 Gr.LTB2 )
Description : Screwed in Bonnet, Inside Screw, Rising Stem
Type of Seat : Integral seat
Type of Disc : Renewable disc
Trim : Cu-Alloy
Gland Packing : Expanded Pure Flexible Graphite
End Details : Flanges as per BS 10 Table D
Body Test Pressure : 21.09Kg/cm²g (300Psig. Hyd.)
Seat Test Pressure : 14.06Kg/cm²g (200Psig. Hyd.)
Our Works’ Test Certificate is furnished with every supply.
| Components | Materials | Specifications |
|---|---|---|
| Body, Bonnet, Valve Disc, Gland Nut & Check Nut | Leaded Tin Bronze | IS:318 Gr.LTB2 |
| Stem | Forged Brass | IS:6912 FLB |
| Gland Packing | Expanded Pure Flexible Graphite | — |
| Handwheel | Cast Iron / Steel | IS:210 Gr.FG200 |
| Screw & Washer for Handwheel | Mild Steel | — |
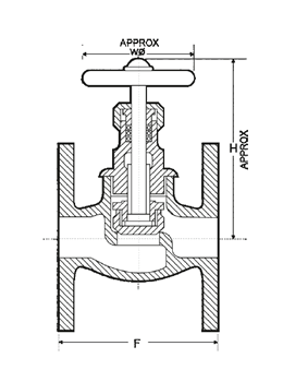
| Nominal Size | Nominal Size (Inches) | F | H | W |
|---|---|---|---|---|
| 15 | 1/2 | 53 | 80 | 60 |
| 20 | 3/4 | 67 | 90 | 60 |
| 25 | 1 | 80 | 100 | 65 |
| 32 | 1.1/4 | 85 | 115 | 80 |
| 40 | 1.1/2 | 91 | 130 | 80 |
| 50 | 2 | 106 | 135 | 90 |
| 65 | 2.1/2 | 140 | 180 | 105 |
| 80 | 3 | 170 | 190 | 115 |
| 100 | 4 | 200 | 230 | 145 |
Notes
1. Product images are for illustration purposes only. Actual product may vary.
2. Actual dimensions may change over time, due to continual design improvements. Please confirm before placing order.
SBM-26
SBM-25
SBM-24
SBM-23
SBM-22
SBM-17
SBM-16
SBM-15
SBM-14
SBM-13
SBM-12
SBM-11
SBM-10
SBM-9
SBM-8
SBM-7
SBM-6
SBM-5
SBM-3
SBM-2
SBM-1
IBR-27
Bronze Loco Type Fusible Plug
IBR-26
IBR-25
IBR-24
IBR-23
IBR-22
IBR-21
IBR-20
IBR-19
IBR-18
Bronze Accessible Feed Check Valve
Flanged, Straight Inlet / Curved Inlet (IBR Approved)
IBR-17A
IBR-17
IBR-16
IBR-15
IBR-14
IBR-13
IBR-12B
IBR-12A
IBR-11B
IBR-11A
IBR-10B
IBR-10A
IBR-9BS
IBR-9BR
IBR-9AS
IBR-9AR
IBR-8
IBR-7
IBR-5
IBR-4B
IBR-4A
IBR-3F
Bronze Horizontal Lift Check Valve
Screwed Cover, Flanged Ends (IBR Approved)
IBR-3E
IBR-3D
IBR-3C
Bronze Horizontal Lift Check Valve
Screwed Cover, Flanged Ends (IBR Approved)
IBR-3B
IBR-3A
Bronze Horizontal Lift Check Valve
Screwed Cover, Screwed Ends (IBR Approved)
IBR-2C
IBR-2B
IBR-2A
IBR-1C
IBR-1B
IBR-1A
IBR-6